欢迎您!奇异果体育官方网站
二次供水设备
预制泵站
污水提升装置
中开泵
离心泵
排污泵
自吸泵
磁力泵
隔膜泵
轴流泵
螺杆泵
化工泵
卫生泵
多级泵
往复泵
渣浆泵
屏蔽泵
计量泵
真空泵
其他泵
- 无负压智慧供水设备
S型单级双吸离心泵,中开泵,为奇异果体育自主研发生产。本系列产品..
无负压稳流供水设备,为奇异果体育自主研发生产。本系列产品是一种..
自控阀门
电动阀门
气动阀门
闸阀
截止阀
球阀
蝶阀
止回阀
减压阀
调节阀
疏水阀
水利控制阀
旋塞阀
隔膜阀
柱塞阀
排气阀
料浆阀
过滤器
船用阀门
其他阀门
JIS日标高平台不锈钢法兰球阀,为奇异果体育自主研发生产本产品设..
GZW-1型不锈钢法兰管道阻火器,为奇异果体育自主研发生产。本产品设..
—— 健全的管理体系、雄厚的技术、先进的工艺、精良的设备、完美的检测制度
ZW型自吸无堵塞排污泵
ZW型不锈钢自吸式排污泵
YW型液下排污泵
WQ型排污泵
QWP型排污泵
QW型排污泵
QWP型潜水式排污泵
NL型污水泥浆泵
LW型立式无堵塞排污泵
JYWQ型排污泵
当前位置:首页 >> 奇异果体育(中国) - 排污泵 - GW型无堵塞管道排污泵
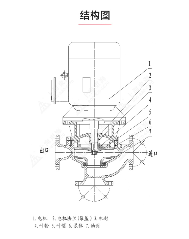
产品概述
GW型无堵塞管道排污泵,为奇异果体育自主研发生产。本系列产品是立式单吸单级离心泵,泵与电机直联同轴,.属机电一体化产品结构紧凑性能稳定。采用大流道抗堵塞水力部件设计,大大提高污物通过能力能有效地通过泵口径的5倍纤维物质和直径为泵口径约50%的固体颗粒。
工作条件
流量范围:8~2600m3/h扬程:7~60m泵系统最高工作压力≤2.4MPa介质温度: 0介质重度:1~1.3Kg/dm3
产品详情